Product Summary
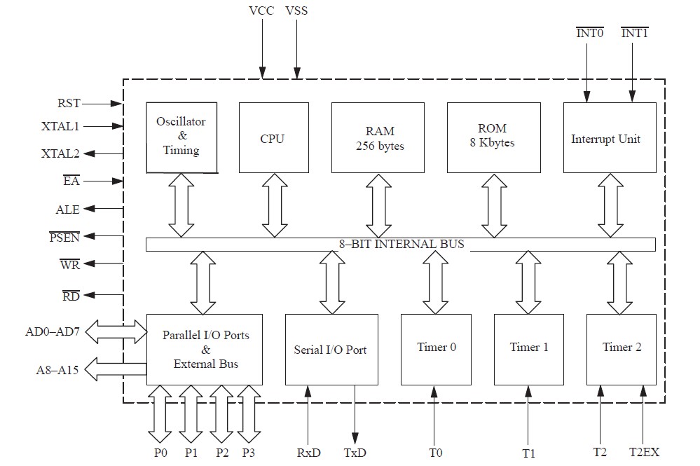
The P-80C32-25 is a high performance CMOS versions of the 8052/8032 NMOS single chip 8 bit Microcontroller. The fully static design of the P-80C32-25 allows to reduce system power consumption by bringing the clock frequency down to any value, even DC, without loss of data.
Parametrics
P-80C32-25 absolute maximum ratings: (1)C = commercial: 0℃ to 70℃; (2)I = industrial: –40℃ to 85℃; (3)A = automotive: –40℃ to +125℃; (4)M = military: –55℃ to +125℃; (5)Storage Temperature: –65℃ to + 150℃; (6)Voltage on VCC to VSS: –0.5 V to + 7 V; (7)Voltage on Any Pin to VSS: –0.5 V to VCC + 0.5 V; (8)Power Dissipation: 1 W.
Features
P-80C32-25 features: (1)Power control modes; (2)256 bytes of RAM; (3)8 Kbytes of ROM; (4)32 programmable I/O lines; (5)Three 16 bit timer/counters; (6)64 K program memory space; (7)64 K data memory space; (8)Fully static design; (9)0.8m CMOS process; (10)Boolean processor; (11)6 interrupt sources; (12)Programmable serial port; (13)Temperature range: commercial, industrial, automotive, military.
Diagrams

![]() |
![]() P-80AAS/A5 |
![]() |
![]() BATT NICAD AA 1.2V 800MAH W/TAB |
![]() Data Sheet |
![]() Negotiable |
|
||||
![]() |
![]() P-80AASL2 |
![]() |
![]() BATTERY PACK 2.4V 800 MAH NICAD |
![]() Data Sheet |
![]() Negotiable |
|
||||
![]() |
![]() P-80AASL2X2 |
![]() |
![]() BATTERY PACK 4.8V 800 MAH NICAD |
![]() Data Sheet |
![]() Negotiable |
|
||||
![]() |
![]() P-80AASL2X3 |
![]() |
![]() BATTERY PACK 7.2V 800 MAH NICAD |
![]() Data Sheet |
![]() Negotiable |
|
||||
![]() |
![]() P-80AASL2X4 |
![]() |
![]() BATTERY PACK 9.6V 800 MAH NICAD |
![]() Data Sheet |
![]() Negotiable |
|
||||
![]() |
![]() P-80AASL2X5 |
![]() |
![]() BATTERY PACK 12.0V 800 MAH NICAD |
![]() Data Sheet |
![]() Negotiable |
|
||||
(Hong Kong)













