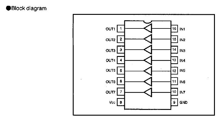
Product Summary
The BA618 is an IC developed for driving 7-segment LED displays, and contains seven positive logic circuits. Input and output are directed in the same direction by DIP pin 16, with the layout optimized to facilltate mounting. The BA618 is suitable for LED drives and relay drivers.
Parametrics
BA618 absolute maximum ratings: (1)power supply voltage, VCC: 16V; (2)power dissipation, Pd: 500mW; (3)operating temperature, Topr: -30 to 75℃; (4)storage temperature, Tstg: -55 to 125℃; (5)maximum drive current, Iout: 100mA; (6)allowable input voltage, Vin: -0.5 to 16V.
Features
BA618 features: (1)contains seven circuits; (2)current of up to 100mA can be driven; (3)input and output are directed in the same direction, for easy mounting; (4)can be directly coupled with TTL.
Diagrams

|  |  BA6104 |  Other |  |  Data Sheet |  Negotiable |  | ||||||
|  |  BA6110FS |  Other |  |  Data Sheet |  Negotiable |  | ||||||
|  |  BA612 |  Other |  |  Data Sheet |  Negotiable |  | ||||||
|  |  BA6125 |  Other |  |  Data Sheet |  Negotiable |  | ||||||
|  |  BA6129AF |  Other |  |  Data Sheet |  Negotiable |  | ||||||
|  |  BA6129AF-E2 |  |  IC RESET W/BATT BACKUP SOP8 TR |  Data Sheet |  
 |  | ||||||
 (Hong Kong)
 (Hong Kong) 
                         
                        
 
                                    




