Product Summary
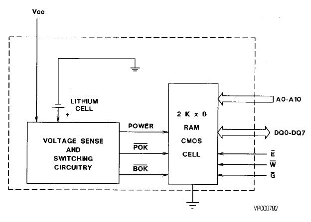
The MK48Z02B-25 is a 16384-bit, non-volatile static RAM. The device is organized 2K×8 using CMOS and an integral lithium energy source. The MK48Z02B-25 has the characteristics of a CMOS static RAM, with teh important added benefit of data being retained in the absence of power. Data retention current is so small that a miniature lithium cell contained within the package provides an en-ergy source to preseve data. Low current drain of the MK48Z02B-25 has been attained by the use of a full CMOS memory cell, novel analog support circuity, and carefully controlled junction leakage by an all implanted CMOS process.
Parametrics
MK48Z02B-25 absolute maximum ratings: (1)VI, voltage on any pin relative to ground: -0.3 to +7.0V; (2)TA, ambient operating temperature: 0 to 70℃; (3)Tstg, ambient storage temperature:: -0 to 85℃; (4)PD, total device power dissipaton: 1W; (5)Iout, output current per pin: 20mA.
Features
MK48Z02B-25 features: (1)predicted worst case battery life of 11 years @ 70℃; (2)data retention in the absence of power; (3)data security provide by automatic write protection during power failure; (4)+5Volt only read/write; (5)conventional SRAM write cycles; (6)full CMOS 440mW active; 5.5mW standby; (7)24-pin dual in line package, jedec pinputs; (8)read-cycle time equals write-cycle time; (9)low battery warning; (10)two power-fall deselect trip points available.
Diagrams

|  |  MK484 |  Other |  |  Data Sheet |  Negotiable |  | ||||
|  |  MK48T08 |  Other |  |  Data Sheet |  Negotiable |  | ||||
 (Hong Kong)
 (Hong Kong) 
                         
                        
 
                                    




