Product Summary
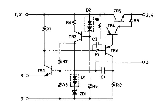
The STK795-521C is a chopper type voltage regulator.
Parametrics
STK795-521C absolute maximum ratings: (1)Maximum DC Input Voltage Vin(DC) max: 40V; (2)Maximum Output Current Io max: 3A; (3)Operating Case Temperature Tc: 105℃; (4)Junction Temperature Tj: 150℃; (5)Storage Temperature Tstg: -30 to 105℃.
Features
STK795-521C features: (1)Self-oscillation type chopper regulator power IC using the original IMST of Sanyo(Insulated Metal Substrate Technology) substrate; (2)Cutoff function to cut off output voltage by external signal; (3)Contains a transistor for overcurrent protector (foldback characteristic) and possible to set the protection level externally.
Diagrams

![]() |
![]() STK7000 |
![]() Other |
![]() |
![]() Data Sheet |
![]() Negotiable |
|
||||
![]() |
![]() STK7002 |
![]() Other |
![]() |
![]() Data Sheet |
![]() Negotiable |
|
||||
![]() |
![]() STK7002B |
![]() Other |
![]() |
![]() Data Sheet |
![]() Negotiable |
|
||||
![]() |
![]() STK7002U |
![]() Other |
![]() |
![]() Data Sheet |
![]() Negotiable |
|
||||
![]() |
![]() STK7006P |
![]() Other |
![]() |
![]() Data Sheet |
![]() Negotiable |
|
||||
![]() |
![]() STK730-010 |
![]() Other |
![]() |
![]() Data Sheet |
![]() Negotiable |
|
||||
(Hong Kong)








