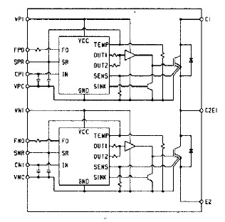
Product Summary
The PM400DHA060 Mitsubishi Intellimod-3 Module is designed for requiring a high frequency (20kHz) output switching inverter. The is isolated from the baseplate, consisting of complete drive, control and protection circuitry for the IGBT inverter. The applications of the PM400DHA060 include inverters, small UPS, motion/servo control, AC motor control.
Parametrics
PM400DHA060 absolute maximum ratings: (1)Power Device Junction Temperature: -20 to 150 ℃; (2)Storage Temperature: -40 to 125 ℃; (3)Case Operating Temperature: -20 to 100 ℃; (4)Mounting Torque, M4 Mounting Screws: 30 kg-cm; (5)Module Weight (Typical): 910 Grams; (6)Supply Voltage Protected by OC and SC (VD = 13.5 - 16.5V, Inverter Part): 400 Volts; (7)Isolation Voltage (Main Terminal to Baseplate, AC 1 min.): 2500 Vrms.
Features
PM400DHA060 features: (1)Complete Output Power Circuit; (2)Gate Drive Circuit; (3)Protection Logic: Short Circuit, Over Current, Over Temperature, Under Voltage.
Diagrams

|  |  PM400DSA060 |  |  MOD IPM DUAL 600V 400A |  Data Sheet |  Negotiable |  | ||||||||||||
|  |  PM400DVA060 |  |  MOD IPM V-SER DUAL 600V 400A |  Data Sheet |  Negotiable |  | ||||||||||||
|  |  PM400HSA120 |  |  MOD IPM SGL 1200V 400A |  Data Sheet |  
 |  | ||||||||||||
|  |  PM40-100K |  J.W. Miller |  RF Inductors 10uH 10% |  Data Sheet |  Negotiable |  | ||||||||||||
|  |  PM40-100K-RC |  J.W. Miller |  Power Inductors 10uH 10% |  Data Sheet |  
 |  | ||||||||||||
|  |  PM40-101K |  J.W. Miller |  RF Inductors 100UH 4.5X3.2X3.2 |  Data Sheet |  Negotiable |  | ||||||||||||
 (Hong Kong)
 (Hong Kong) 
                         
                        
 
                                    




