Product Summary
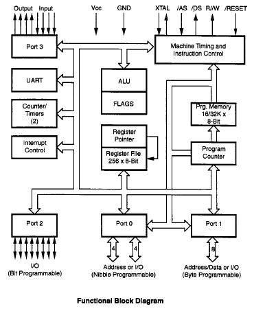
The Z86E6116PSC is a signle-chip microcontroller with 16 Kbytes of EPROM and 236 bytes of general-purpose RAM. It is pin compatible. It offers fast execution, efficient use of memory, sophisticated interrupts, input/output bit manipulation capabilities, and easy hardware/software system expansion along with low cost and low power consumption. The applications of the device demand powerfull I/O capabilities. And it fulfills this with 32-pin dedicated to input and output.
Parametrics
Z86E6116PSC absolute maximum ratings: (1)VCC, supply voltage: -0.3 to 7.0V; (2)Tstg, storage temp: -65 to 150℃.
Features
Z86E6116PSC features: (1)Tpc, input clock period: 83 to 500ns when TA=0 to 70℃, 12MHz; 62.5 to 500ns when TA=0 to 70℃, 16MHz; (2)TrC, TfC, clock input rise & fall times: 15ns max when TA=0 to 70℃, 12MHz; 10ns max when TA=0 to 70℃, 16MHz; (3)TwC, input clock width: 41ns min when TA=0 to 70℃, 12MHz; 31ns min when TA=0 to 70℃, 16MHz; (4)TwTinL, timer input low width: 75ns min when TA=0 to 70℃, 12MHz; 50ns min when TA=0 to 70℃, 16MHz; (5)TwTinh, timer input high width: 5TpC min when TA=0 to 70℃, 12MHz; 5TpC min when TA=0 to 70℃, 16MHz; (6)TpTin, timer input period: 8TpC min when TA=0 to 70℃, 12MHz; 5TpC min when TA=0 to 70℃, 16MHz.
Diagrams

| Image | Part No | Mfg | Description |  | Pricing (USD) | Quantity | ||||||||
|---|---|---|---|---|---|---|---|---|---|---|---|---|---|---|
|  |  Z86E6116PSC |  ZiLOG |  8-bit Microcontrollers (MCU) 16K OTP 16MHz W/UART |  Data Sheet |  
 |  | ||||||||
| Image | Part No | Mfg | Description |  | Pricing (USD) | Quantity | ||||||||
|  |  Z86E02 |  Other |  |  Data Sheet |  Negotiable |  | ||||||||
|  |  Z86E02 SL1925 |  Other |  |  Data Sheet |  Negotiable |  | ||||||||
|  |  Z86E0208HEC1925 |  ZiLOG |  8-bit Microcontrollers (MCU) .5K OTP 8MHz XTEMP |  Data Sheet |  Negotiable |  | ||||||||
|  |  Z86E0208HEG1925 |  ZiLOG |  8-bit Microcontrollers (MCU) .5K OTP 8MHz XTEMP |  Data Sheet |  
 |  | ||||||||
|  |  Z86E0208HSC1925 |  ZiLOG |  8-bit Microcontrollers (MCU) Z8 .5K OTP 8 MHZ |  Data Sheet |  Negotiable |  | ||||||||
|  |  Z86E0208HSC1925TR |  |  IC Z8 MCU OTP 512 20SSOP |  Data Sheet |  
 |  | ||||||||
 (Hong Kong)
 (Hong Kong) 
                         
                        
 
                                    




